
类型:系统安全 版本:安装v7.8.0.2大小:62.3MB更新:2025/12/18 11:47:40 语言:简体中文
软件介绍
《淮水安澜手机版》 在众多平台中寻觅良久,原来理想的它就停驻在淮水安澜里。淮水安澜官网(https://bbs.huainet.com/)是淮安及周边区域居民的综合性线上家园,集信息互通、生活服务与社交互动功能于一体。平台聚焦地方经济社会发展动态、政风政纪
建设
、民生民情关切,为淮安市区(含淮阴、清江浦)及洪泽、盱眙、金湖、涟水等县区,以及邻近的泗洪、泗阳、沭阳等地群众,提供了贴心优质的生活办事服务保障。
淮水安澜指的是淮河水流平稳,不发生泛滥,常被用来比喻天下太平、安宁无事。这一词语既寄托了人们对淮河流域平安稳定的期盼,也象征着对幸福美好生活的向往。它的内涵源于人们对淮河长期治理的愿景,期盼这条古老的河流能够保持安澜状态——也就是河水平静无波,进而为百姓的日常生活以及农业生产提供可靠的安全保障。
阳光淮阴12345政府公共服务平台的联系电话是0517-80528012。
清江浦区“阳光清江浦”办公室联系电话:0517-83512345
阳光淮安区12345 联系电话:0517-85152341
淮安市洪泽区“阳光洪泽”管理服务中心0517-87201192
阳光涟水12345民生服务中心的联系电话是0517-82380552
“阳光金湖”管理办公室 联系电话:0517-86999180
阳光盱眙管理办公室0517-80912345
淮安经济技术开发区政务服务中心联系电话:0517-83612345
江苏淮安工业园区管理委员会的联系电话是0517-89082906。
淮安生态文化旅游区的联系电话是0517-89223293
淮安盐化新材料产业园区的联系电话是0517-83829068
淮安市发展和改革委员会的联系电话是0517-83908019
淮安市经济和信息化委员会的联系电话是0517-83750607
淮安市物价局0517-83605322
淮安市教育局联系电话:0517-83605495
淮安市科学技术局0517-83665024
淮安市公安局0517-81331110
淮安市民政局0517-83612349
淮安市司法局0517-83680211
淮安市财政局0517-83168011
淮安市人力资源和社会保障局(市人社局)联系电话为0517-83666187
淮安市审批服务协调处 联系电话:0517-83638311
淮安市国土资源局的联系电话有0517 - 89000780、83922356以及83922357。
淮安市住房和城乡
建设
局0517-83661020
淮安市规划局0517-83660127
淮安市城市管理局0517-83346699
淮安市交通运输局的联系电话是0517-83669177。
淮安市水利局0517-83718780
淮安市农业委员会0517-83651036
淮安市商务局0517-83913857
淮安市文化广电
新闻
出版局0517-83662453
淮安市卫生和计划生育委员会的联系电话是0517-80831602
淮安市环境保护局0517-83678226
淮安市体育局的联系电话是0517-83182013。
淮安市统计局0517-83931319
淮安市安全生产监督管理局的联系电话是0517-83508071。
淮安市食品药品监督管理局0517-80877110
淮安市旅游局0517-83769852
淮安市信访局的联系电话是0517-83996966。
淮安市民防局(淮安市人民防空办公室)0517-83118105
淮安市人民政府法制办公室的联系电话是0517-83659990
淮安市质量技术监督局的联系电话是0517-80868785
淮安市残疾人联合会0517-83605472
淮安市妇联0517-89080918
淮安市地震局的联系电话是0517-83605445。
淮安市国家
税务
局0517-83785913
淮安市地方
税务
局0517-83639140淮安市工商行政管理局 联系电话:0517-83649063
淮安市气象局0517-83666361
江苏省烟草公司淮安市公司的联系电话是0517-83515871
淮安市人民政府国有资产监督管理委员会的联系电话是0517-83656132
淮安市机关事务管理局的联系电话是0517-83605336
淮安市广播电视台 联系电话:0517-83669911
淮安日报社的联系电话是0517-89880106。
淮安市民族宗教事务局的联系电话是0517-83910047
中国邮政集团淮安市分公司0517-83500185
淮安市住房公积金管理中心的联系电话为0517-83566115、0517-83888319和0517-83888335。
淮安市里运河文化长廊规划
建设
管理办公室的联系电话是0517-83798310淮安市白马湖规划
建设
管理办公室、淮安市白马湖投资发展有限公司 联系电话:0517-80326902淮安市农业机械管理局的联系电话是0517-87079600。
淮安市粮食局0517-87079600
淮安市公安消防支队0517-83123849
淮安市国联集团(城市资产公司)的联系电话是0517-83558326
中国电信股份有限公司淮安分公司 10000
中国移动通信集团江苏有限公司淮安分公司 15952340057
中国联合网络通信有限公司淮安市分公司的联系电话是0517-86287178
江苏省广电有线信息网络股份有限公司淮安分公司的联系电话是0517-83662468
淮安自来水有限公司0517-83973301
淮安市供电公司0517-83585727
淮安市阳光热力服务有限公司的联系电话是0517-83963241
淮安新奥燃气有限公司的联系电话是0517-83981459
淮安市城市公共交通有限公司的联系电话是0517-83719670
淮安市现代有轨电车经营有限公司联系电话:0517-89860033
中国工商银行股份有限公司淮安分行95588
中国
建设
银行股份有限公司淮安分行95533中国银行股份有限公司淮安分行0517-83914488
中国农业银行股份有限公司淮安分行的联系电话为0517-83669634与0517-83669802。
江苏银行股份有限公司淮安分行的联系电话是0517-83719670
邮储银行淮安市分行0517-83977662
火车
订票 0517-95105105
火车票客服 12306
机票订票 0517-81666666
机票东航服务热线 95530
机票春秋
航空
服务热线 95524
淮安长途汽车客运总站 0517-83902872
淮安长途客运南站 0517-83786528
淮安长途客运北站 0517-89082666
淮安长途客运开发区站的联系电话是0517-83902878
淮安长途客运
网络购票
咨询电话:0517-83902823淮安市第一人民医院的联系电话是0517-84922412。
0517-84921368
淮安市第二人民医院0517-80871636
0517-80871724
淮安市第三人民医院0517-83664728
淮安市第四人民医院0517-80321976
淮安市妇幼保健院0517-83964729
淮安市
中医
院0517-83761947
八二医院0517-83568700
淮安中山医院0517-83832626
0517-83776161
淮安市公安局出入境接待大厅(翔宇中道150号),联系电话0517-83120639
淮安区出入境接待大厅位于城西干道萧湖人家小区东北角的五层办公楼内,联系电话是0517-85841870。
淮阴区出入境接待大厅位于淮河路101号,联系电话是0517-84977833
洪泽区出入境接待大厅位于高良涧镇北京东路,联系电话为0517-87566155。
金湖县出入境接待大厅位于
建设
路31号,联系电话是0517-86995035涟水县泰山路出入境接待大厅 联系电话:0517-82960053
盱眙县出入境接待大厅位于十里营大街110号,联系电话是0517-88570116。
淮水安澜淮上民声
淮网(huainet.com)是淮安地区的网络媒体与综合性门户网站,其旗下的网上社区“淮水安澜”(bbs.huainet.com)为已注册商标。
淮网聚焦经济社会发展、政风政纪与民生民情,为淮安下辖的淮阴、清江浦、洪泽、盱眙、金湖、涟水等区县,以及周边泗洪、泗阳、沭阳等地群众,搭建起涵盖阳光纪检、招聘求职、婚恋交友、房产家居、亲子教育、美食旅游、户外运动、寻人寻物、拼车公益、论坛求助等多元内容的信息服务平台。
罚!淮安4家社区卫生院被查!
“淮水安澜”(ID:huaianhuainet)欢迎您的关注
近日
淮阴区人民政府发布
淮安市淮阴区果林社区卫生服务中心
淮安市淮阴区肛肠专科医院(淮安市淮阴区棉花中心卫生院)
淮安市淮阴区古寨卫生院
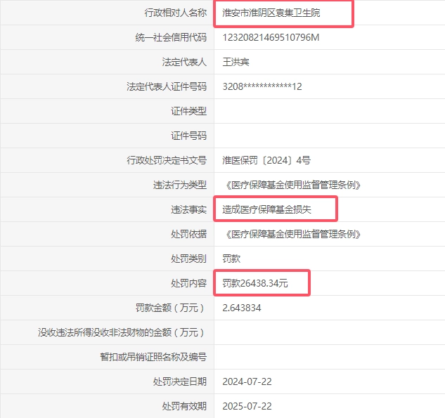
淮安市淮阴区袁集卫生院
四家社区卫生院被查
打开淮水安澜阳光纪检的最新版本后,在【首页】界面就能看到“淮安振兴”这一板块。
由“最新发布”“最新回复”和“精华热帖”这三个部分构成。
关于淮水安澜的本地资讯,涵盖经济、城建、交通、时政、人文等领域,都能及时查看并深入了解。
要是想发帖或者浏览,也能点击那个蓝色的小方框区域进行编辑。
当然,只有保持登录状态,才能完成这个操作。
淮水安澜是淮网huainet.com旗下的明星品牌与网上社区,深受淮安及周边区域(包括淮阴、清江浦、洪泽、盱眙、金湖、涟水,以及泗洪、泗阳、沭阳等地)群众的信赖,是大家日常信息交流的重要平台,同时也是引领新型社交潮流的先行者。平台始终关注当地经济社会的发展动态,聚焦政风政纪
建设
,紧密贴合民生民情需求,致力于为淮安的发展积极建言献策,助力江淮地区共同谋求繁荣发展。最后更新于2025年2月28日
修复部分已知问题,提高稳定性
付临门
哇呜说
万能乐器调音器免费版
飞猪酒店商家版
克隆换机互传
3D人体解剖图
福星聚财手机版
地震预警监测
好马手机版
超强放大器免费版
淮恒原养生专家手机版
欢悦充电免费版
照片实时相机
北京清华长庚医院
聊天数据管家WQ最新版
淮水安澜手机版
录音秘书手机版
安心心率管家
BYLabel标签打印软件
44.2MBv3.0.2.2
百保盾
76.6MBV8.3.0
及时雨物业管家手机版
72.6MBv2.9.5
模拟弹钢琴大师最新版
92.3MBv1.0.0
速客查
53.1MBv4.0
创客贴设计
129.5MBv5.0.2
秘盒空间手机版
44.6MBV1.0.13
泰剧兔免费
101.8MBV1.5.5.7